Vintage Guitars
I'm happy with this
This website uses cookies to personalise content and adverts, to provide social media features, and to analyse traffic. When you buy through links on our site we may earn an affiliate commission. See terms and conditions
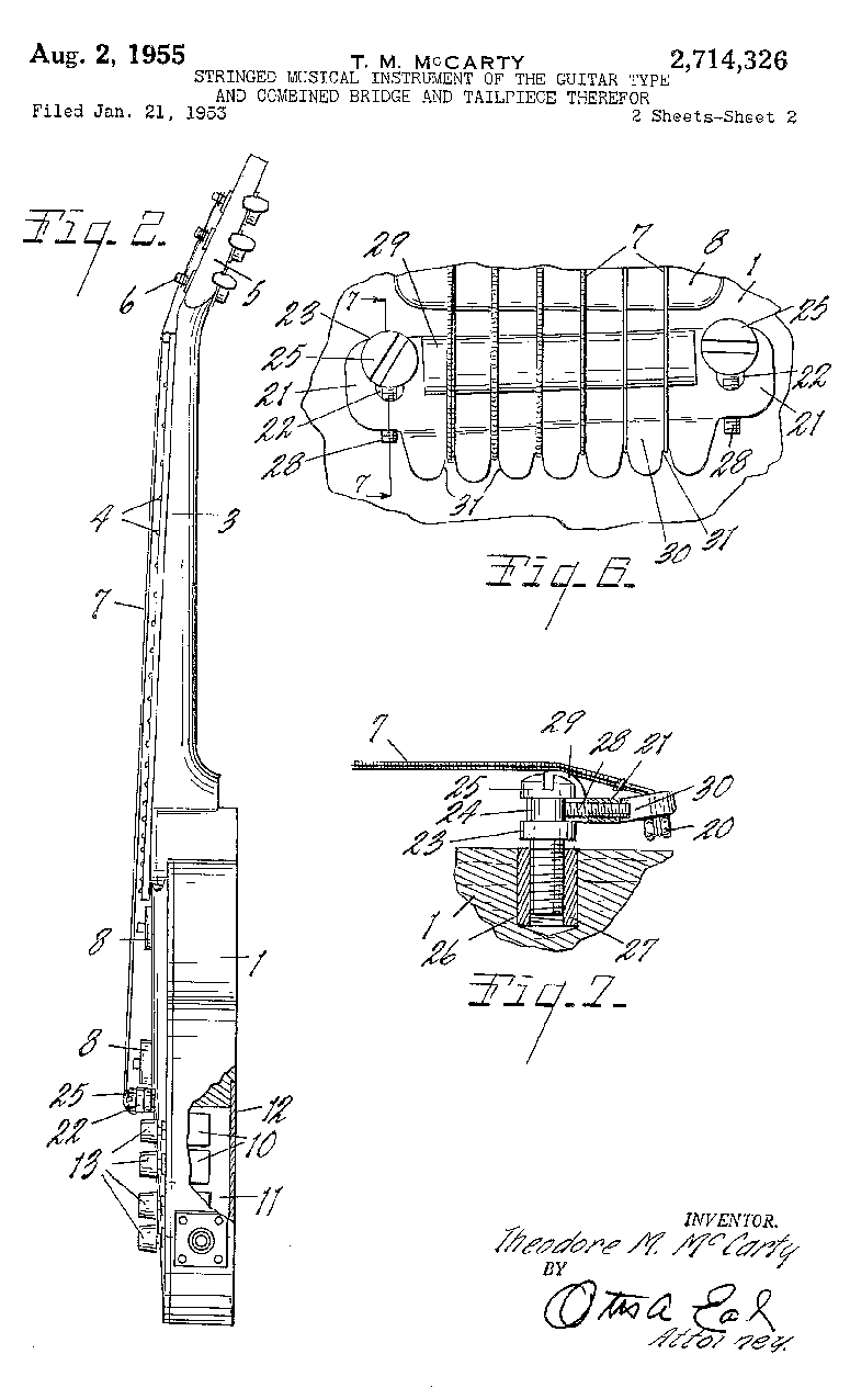
GIBSON | PATENTS | 2,714,326

US Patent 2,714,326

Stringed musical instrument (Les Paul Model guitar) and combined bridge/tailpiece

The original patent for the Les Paul model guitar, filed in January 1952, and granted in August 1955. The inventor was Gibson president Theodore (Ted) McCarty.


Got an opinion on the contents of this page? Disagree with something written above? Please comment

2025 Vintage Guitar price guide 2025 Vintage Guitar price guide

Need the value of your guitar? The Official Vintage Guitar Magazine Price Guide 2025 is out now: Amazon


Gibson guitars for sale

Vintageguitarandbass.com is funded by its visitors. When you buy through links on our site we may earn an affiliate commission. For more info see terms and conditions.
Gibson Standard 58 Les Paul Goldtop 1958 Reissue 1971 1 of 25 rarest Les Paul

Gibson Standard 58 Les Paul Goldtop 1958 Reissue 1971 1 of 25 rarest Les Paul

Hopewell, New Jersey, 085**, UNITED STATES OF AMERICA

$10695

Gibson Standard 58 Les Paul Goldtop 1958 Reissue 1971 With original hang tag and blank guarantee card returnable to Kalamazoo
Being offered from the private collection of Sound Investments USA LLC

CONDITION AND PRICING PLEASE READ:
All electronics work and are original . very clean guitar. The Frets are ok but here is what my luthier said. The neck is slightly bowed on low E side and straight on high E side which he states can be fixed by replacing frets and compensating for ... more
eBay logo
Aria Pro II LS-500 Les Paul Tobacco Burst 1978 With Gibson Pickups Fresh Setup

Aria Pro II LS-500 Les Paul Tobacco Burst 1978 With Gibson Pickups Fresh Setup

Flower Mound, Texas, 750**, UNITED STATES OF AMERICA

$1200

1978 Aria Pro II LS-500 in tobacco burst
Flame maple one piece top and chambered mahogany body. Three piece mahogany neck. Long neck tenon
Chrome hardware, Gotoh bridge, original MIJ tail piece. Sealed tuners
The body has nicks, dings, dents, and a few finish checks. One on the top by the bridge tone pot, and a few more on the back of the headstock around the tuners
The frets show some wear, but less than normal for a 45 year old guitar
The pickups have been replaced with a ... more
eBay logo
1978 Gibson 25 / 50 Anniversary Les Paul Tobacco Sunburst w /  OG Hardshell Case

1978 Gibson 25 / 50 Anniversary Les Paul Tobacco Sunburst w / OG Hardshell Case

Woodbury, New York, 117**, UNITED STATES OF AMERICA

$8000

1978 Gibson 25 / 50 Anniversary Les Paul Tobacco Sunburst w / Original Hardshell Case
Les Paul fans, we have a special guitar to share with you today. For sale we have a rare and collectible Les Paul 25 / 50 Anniversary model. This guitar was made to commemorate the 25th anniversary of the Les Paul, as well as the 50th anniversary of Les?? musical career! This is essentially a Les Paul Custom but it??s dressed to the 9??s and tricked out with premium features that were never before seen on ... more
eBay logo
1973 Gibson Les Paul Custom Black Beauty

1973 Gibson Les Paul Custom Black Beauty

Nazareth, Pennsylvania, 180**, UNITED STATES OF AMERICA

$8995

Just in is this great 1973 Gibson Les Paul Custom Black Beauty
Quick Details
Weight 10 2
Nut width 1 69inches
Depth at 1st Fret 0 81 inches
Depth at 12th Fret 1 00 Inches
This 1973 Les Paul Custom is in great shape with no breaks or repairs
The body is in almost perfect shspe with the exception of a small wear mark through the paint and into the wood on the treble side of the neck between the 9th and 10th frets. This happened from the guitar sitting in its case over years ... more
eBay logo
1957 Gibson Les Paul Custom w / 3 original PAF pickups + Fretless Wonder HANG TAG!

1957 Gibson Les Paul Custom w / 3 original PAF pickups + Fretless Wonder HANG TAG!

Carbondale, Illinois, 629**, UNITED STATES OF AMERICA

$98000


Add Me to Your Favorite Sellers
Olivia's Vintage would like to present this 1957 Gibson Les Paul Custom in its original Black finish. It's all original and 100% complete along with its original hardshell case and original HANG TAG stamped "LES PAUL CUSTOM FRETLESS WONDER " . There's also a copy of the original sales ledger where the original owner made multiple payments of $13 a month for over a year. It has a good playing neck, but the small original frets are very worn as this would ... more
eBay logo
Gibson Rare Vintage 1970??s Flower Tuner Ferrules Les Paul ES SG 1973-1977

Gibson Rare Vintage 1970??s Flower Tuner Ferrules Les Paul ES SG 1973-1977

Green Bay, Wisconsin, 543**, UNITED STATES OF AMERICA

$135

Gibson Rare Vintage 1970??s Flower Tuner Ferrules Les Paul ES SG 1974-77. Very nice condition

Also available on other site and locally, so listing can end at any time. If it sells on both, the first winner will receive the guitar, the other will be fully refunded
Continental U S. Lower 48 bidders only. PayPal only. Those with less than 10 feedback should contact me first. Happy to answer questions promptly and provide more pics. Thanks and good luck
... more
eBay logo

Find more Gibson guitars for sale at vintageguitarsforsale.co

There are 0 comments on this page so far. Add your comment

Comment on this article

Anti-spam question - to catch web robots

Contact
info@vintageguitarandbass.com

mailing list

Follow

Facebook  Instagram  YouTube

Other Great Sites

Recent posts on vintage guitar and bass

1973 Hagstrom Swede Bass

1973 Hagstrom Swede Bass The Hagstrom Swede bass, or model HB 903, was only built in small numbers: just 1479 basses shipped between 1971 and 1976. Unlike the current range of Hagstrom guitars, the 1950s-1980s Hagstroms were built in Sweden. This example comes from 1973 and is pretty typical: translucent cherry finish, mahogany body, mahogany neck with an ebony fretboard. It's a really nice bass, beautifully appointed with a very wide tonal range, and a great playing feel. It is relatively heavy though for a mahogany instrument, mostly due to its thick solid body. Very cool bass, and certainly one of the very best basses produced by Hagstrom.

1973 Shaftesbury 3400

1973 Shaftesbury 3400 This example of the Shaftesbury 3400 was produced by Japanese manufacturer Matsumoku who made some great quality guitars in the 1970s and 1980s. This is a slightly later example, and has some features not seen on earlier 3400s. Although nice guitars, these are not in the same league as the Gibson Les Paul it was emulating (no set neck, no carved maple top); but they are far better than many of the entry-level Les Paul copies available in the mid-1970s - for example the Shaftesbury 3400 has gold plated hardware, a solid body bound front and back, Maxon brand humbuckers and nice inlaid neck and headstock.

1971 Epiphone 1802T

1971 Epiphone 1802T The Epiphone 1802T was the early name given to the Epiphone ET-270 and derived from an existing Aria guitar, also the 1802T. This was the first of the 1970s Epiphone solid bodies made in Japan by Matsumoku.The model evolved somewhat over its short production run: the very earliest examples were very similar to the Aria, sharing the same body shape, hardware, and clear-coated neck with Fender-style headstock with decal logo. By the time it was designated the Epiphone ET-270 it had been upgraded with the classic Epiphone-style headstock, with nice inlaid logo, and Epiphone 'E' motifs on the truss rod cover and scratchplate. This example from 1971 is somewhere in between with the Epiphone-style headstock, but with silk-screened logo, and no 'E's.

1971 Shaftesbury 3400

1971 Shaftesbury 3400Shaftesbury was a brand distributed by Rose-Morris in the UK - generally imported guitars from Italy or Japan. This guitar, model 3400 was produced by Matsumoku in Japan, and was one of the earliest Les Paul copy guitars, debuting in the UK in 1969, although the same guitar was also sold as the Univox U1982 'Rhythm and Blues' by Merson in the USA as early as 1968. It was also available in different territories under different marques, most obviously the Aria 5522 (Japan), Jedson Jet 4444 (UK, Dallas Arbiter), with no doubt many more examples worldwide.

1981 Gibson Victory MVX

1981 Gibson Victory MV-XThe Gibson Victory MV-X, or Victory 'Multi-Voice' 10, was so-named because of the 10 distinct switch settings: although on first glance this guitar is very much a 'super-strat', with its three-pickup 5-way switch wiring configuration, the original advertising, sounds like... all of 'em underlines that this isn't just a Stratocaster copy, having the sounds of both Gibson humbuckers and Fender single coils available with a flick of a switch. The model was short-lived, with the first instruments shipping from Kalamazoo in Summer of 1981, and the last (excluding any stragglers) leaving Nashville by early 1982. This one was stamped on August 3rd 1981 in Kalamazoo.

1970 Rosetti Epiphone guitar catalogue

1970 Rosetti Epiphone guitar catalogScan of 1970 Epiphone guitar catalogue produced by Rosetti for the UK market. Undated but most likely from mid-late 1970, this was the first UK catalogue to show the new range of Japanese (Matsumoku) Epiphone guitars. Interestingly, these pages show the Epiphone solid bodies with a single-sided Fender-style headstock layout - a feature quickly replaced with a typical two-sided Epiphone headstock almost immediately. Epiphone electric guitars: 9520, 9525; bass guitars: 9521, 9526; acoustic guitars: 6730, 6830, 6834

A World of Guitars by Rosetti - 1971

1971 A World of Guitars by Rosetti catalogueScan of 1971 Rosetti catalogue (UK) featuring guitars from from numerous manufacturers worldwide: guitars by Epiphone, Hagstrom, Levin, Hoyer, Egmond, Eros, Moridaira, Kiso-Suzuki, Schaller, and Tatra.

1971 Selmer guitar catalogue

1971 Selmer guitar catalogueScan of 1971 Selmer guitar catalogue showing the range of electric and acoustic guitars distributed by the company: guitars by Gibson, Yamaha, Selmer, Hofner and Suzuki. 1960s Selmer had always placed Hofner at the front end of their catalogues, no doubt these were the better sellers - but into the 1970s Hofner were slipping somewhat and only appear at the tail end of this publication, pride of place going to Gibson, and to a lesser extent Yamaha. In fact this is the last Selmer catalogue to include the many Hofner hollow bodies (Committee, President, Senator etc) that had defined the companies output for so many years - to be replaced in the 1972 catalogue by generic solid body 'copies' of Gibson and Fender models. A number of new Gibson models are included for the first time: the SG-100 and SG-200 six string guitars and the SB-300 and SB-400 basses.

1968 Selmer guitar catalogue

1968 Selmer guitar catalogueScan of 1968/1969 Selmer guitar catalogue (printed July 1968), showing the entire range of electric and acoustic guitars distributed by the company: guitars by Hofner, Gibson, Selmer and Giannini. Selmer were the exclusive United Kingdom distributors of Hofner and Gibson at the time, and this catalogue contains a total of 18 electric guitars, 7 bass guitars, 37 acoustics, and 2 Hawaiian guitars - all produced outside the UK and imported by Selmer, with UK prices included in guineas. This catalogue saw the (re-)introduction of the late sixties Gibson Les Paul Custom and Les Paul Standard (see page 69) and the short-lived Hofner Club 70. Other electric models include: HOFNER ELECTRICS: Committee, Verithin 66, Ambassador, President, Senator, Galaxie, HOFNER BASSES: Violin bass, Verithin bass, Senator bass, Professional bass GIBSON ELECTRICS: Barney Kessel, ES-330TD, ES-335TD, ES-345TD, ES-175D, ES-125CD, SG Standard, SG Junior, SG Special GIBSON BASSES: EB-0, EB-2, EB-3 - plus a LOT of acoustics branded Gibson, Hofner, Selmer and Giannini

1961 Hofner Colorama I

1961 Hofner Colorama IHofner Colorama was the name UK distributor Selmer gave to a series of solid and semi-solid guitars built by Hofner for distribution in the UK. The construction and specifications of the guitars varied over the period of production, but by 1961 it was a totally solid, double cutaway instrument, with a set neck, translucent cherry finish, six-in-a-row headstock, and Hofner Diamond logo pickups. Available as a single or dual pickup guitar, this sngle pickup version would have been sold in mainland Europe as the Hofner 161.

1971 Commodore N25 (Matsumoku)

1971 Commodore N25 (Matsumoku)Commodore was a brand applied to a series of guitars produced in Japan at the well-respected Matsumoku plant from the late 1960s to the mid 1970s - and sold primarily (perhaps exclusively?) in the United Kingdom. The models bearing the Commodore name were all guitars available from different distributors with different branding. Although there may have been some minor changes in appointments (specifically headstock branding) most had the same basic bodies, hardware and construction. Equivalent models to the Commodore N25 (and this is by no means an exhaustive list) include the Aria 5102T, Conrad 5102T(?), Electra 2221, Lyle 5102T, Ventura V-1001, Univox Coily - and most famously the Epiphone 5102T / Epiphone EA-250.

1960 Hofner Colorama II

1960 Hofner Colorama IIThe Hofner Colorama was the name given by Selmer to a series of solid (and semi-solid) body Hofner guitars distributed in the United Kingdom between 1958 and 1965. The Colorama name actually applied to some quite different guitars over the period, but in 1960 it was a very light, semi-solid, set necked guitar with one (Colorama I) or two (Colorama II, as seen here) Toaster pickups. Although an entry-level guitar, it was very well-built, and a fine playing guitar; certainly a step up (at least in terms of craftsmanship) from many of the Colorama guitars that would follow, and a good deal of the guitars available in Britain circa 1960.

1971 Epiphone 1820 bass (ET-280)

1971 Epiphone 1820 (ET-280) bassBy the end of the 1960s, a decision had been made to move Epiphone guitar production from the USA (at the Kalamazoo plant where Gibson guitars were made), to Matsumoto in Japan, creating a line of guitars and basses significantly less expensive than the USA-built models (actually less than half the price). The Matsumoku factory had been producing guitars for export for some time, but the 1820 bass (alongside a number of guitar models and the 5120 electric acoustic bass) were the first Epiphone models to be made there. These new Epiphones were based on existing Matsumoku guitars, sharing body shapes, and hardware, but the Epiphone line was somewhat upgraded, with inlaid logos and a 2x2 peghead configuration. Over the course of the 70s, the Japanese output improved dramatically, and in many ways these early 70s models are a low point for the brand. Having said this, there are a lot worse guitars out there, and as well as being historically important, the 1820 bass can certainly provide the goods when required.

1981 Gibson Marauder

1981 Gibson MarauderProduction of Bill Lawrence's Gibson Marauder began in 1974, with production peaking in 1978. But by 1980 the model was officially discontinued, though very small numbers slipped out as late as spring 1981. Over 7000 examples shipped between 1974 and 1979, and although no totals are available for 1980 and 1981, it is unlikely production reached three figures in either of these years. These final Marauders were all assembled at the Gibson Nashville plant, and had some nice features not available through the later years of production, such as a rosewood fretboard, and in this case, an opaque 'Devil Red' finish. It's a great looking and fine playing guitar!

1971 'Pick Epiphone' Catalog

1971 Pick Epiphone catalogWhen Epiphone production moved from Kalamazoo to the Matsumoku plant in Japan, a whole new range of electric, flattop and classic acoustic guitars was launched. Between late 1970 and 1972 the new models were launched and refined. This 'folder' catalog contains various inserts released over these years detailing four electric six-strings (ET-270, ET-275, ET-278, and thinline EA-250), three bass guitars (ET-280, ET-285, and thinline EA-260), three folk/steel acoustics, four jumbo flattop acoustics, two 12-string jumbos, four classic acoustics, and a banjo.

1981 'Gibson Specials' Pre-Owners Manual

1981 Gibson Specials Pre-Owners Manual'Gibson Specials' was part of the June 1981 pre-owners manual series, but unlike the other folders contained a mish-mash of different guitars: limited editions, test marketing and close outs. "You will find the unusual, the brand-new, and the bargain within this folder". End of line 70s guitars like the Marauder, S-1, and L-6S Custom mixed in with brand new models the The V, The Explorer and the Flying V Bass.
It was the largest folder in the series, with 24 inserts, (19 guitars and 5 basses): Guitars: 335-S Standard, Melody Maker Double, Marauder, L-6S Custom, S-1, RD Artist, Firebird, Firebird II, Flying V, Flying V-II, The V, Explorer, Explorer II, The Explorer, The "SG" Standard, Les Paul Artist, Les Paul Artisan, ES-335 Heritage, ES-175/CC Basses: Grabber, G-3, L-9S, RD Artist Bass, Flying V Bass

1970s Shaftesbury 3263 bass

1970s Shaftesbury 3263 bass Rose-Morris were selling Shaftesbury-branded Rickenbacker copy instruments from the late 1960s right through the 1970s. The 3263 bass was one of the first models, (alongside the 3261 six string and 3262 twelve string) available from late 1968 until about 1974. The earliest incarnation was a set neck bass, produced very briefly in Japan. But production quickly moved to Italy. This bolt-on neck example was built by Eko, in Recanati, using the same hardware and pickups as fitted to Eko, and Vox basses built around the same time. It's certainly a fine looking bass, and not a bad player either.

1961 Hohner Zambesi

1961 Hohner Zambesi This very early, and pretty rare British-built guitar is branded Hohner London. Hohner were, of course, a German company, better known for their harmonicas and accordions, but they were keenly expanding into guitars at the birth of the 1960s. This model, along with the Hohner Amazon and (particularly) the Hohner Holborn, bear some similarity with Vox guitars of the same period; furniture manufacturer Stuart Darkins constructed bodies and necks for both brands, with Fenton Weill assembling them using their hardware and pickups. These guitars do have some hardware peculiarities, and they are not the most adjustable of instruments, but they actually play very nicely, being solidly built out of some very nice woods. Check out the video on this page.

1963 Vox Super Ace

1963 Vox Super Ace The Vox Super Ace was a mid-priced British solid body electric guitar, produced by JMI at their factory in Dartford, Kent. It was broadly modelled on the Fender Stratocaster, and a sibling model to the dual-pickup Vox Ace. Both the Ace, and Super Ace (along with several other models), were redesigned in 1963 with a new body shape, headstock style, and pickup layout - only increasing the resemblance to the aforementioned Fender. The Super Ace had a 1963 price tag of £47 5S. It's a pretty nice playing guitar with some lovely sounds - check out the videos on this page, and in the Vintage Guitar and Bass supporting members area

1966 Vox New Escort

1966 Vox New Escort The Vox New Escort was Vox's version of the Fender Telecaster, at a time when American guitars were out of reach for most British musicians. It was made by JMI in England, for the British market, and unlike the majority of other models, didn't have an Italian-made equivalent. But the New Escort wasn't a slavish Fender copy, adding Vox's stylish teardrop headstock to the tele-style body, with a stop tailpiece and two Vox V2 single coil pickups. And it's a pretty substantial, and nice playing guitar, with a very comfortable neck. Check out the images, specifications, and watch a video of it in action. There is also extra content in the vintageguitarandbass supporting members area.

1969 Fender catalog, Fender Lovin' Care

1969 Fender catalog, Fender Lovin Care Catalog scan. The 1969 Fender Lovin' Care catalog consisted of 48 pages of electric guitars, basses, amplifiers, steel guitars, acoustic guitars, banjos and keyboards. Like the previous catalog, this featured the company's guitars in a variety of interesting settings around California, from the Whiskey-A-Go-Go, to the Hollywood Bowl. Several instruments were making their first appearance amongst it's pages: the Telecaster bass, Montego and LTD jazz guitars, and the Redondo acoustic. It was the final catalog appearance, however, of the Electric XII, Bass V, Duo-Sonic, Coronado I and Coronado Bass I.

1973 Eko Ranger Folk

1973 Eko Ranger Folk The Eko Ranger series of guitars was incredibly popular in the second half of the 1960s and through the 1970s, selling in very large numbers. The Ranger Folk was 1 1/4" smaller, and 1" shallower than the Ranger VI and XII - and with a narrower waist. Not a bad guitar; a little quiet, but pretty playable. These were great value in 1973, and because they sold so many, they are easy to find and excellent value today.

1966 Vox Symphonic bass guitar

1966 Vox Symphonic bass guitar The Symphonic bass was built in the UK, by Vox parent company JMI. It was the Vox equivalent to the Fender Precision bass, and was one of the most expensive Vox guitars produced. It was actually a great playing bass, rather similar to the Precision in feel and sound, but was probably just too expensive compared to an actual Fender and consequently sold poorly. When Vox hit financial problems in 1968, unsold guitars and basses were passed on to Dallas Arbiter, who briefly sold the excess Symphonic bass stock as model 4537. This bass, although with a neck date of February 1966, was most likely one of the unsold Vox guitars sold on by Dallas Arbiter. Check out the bass, and the two video demos through 1960s Ampeg and WEM amplifiers.

1968 Shaftesbury 'Electric Guitars' catalog

1968 Shaftesbury catalogThe 1968 Shaftesbury 'Electric Guitars' catalog was just four pages long, and contained four guitar models: the six string Barney Kessel-style 3264; and three Rickenbacker-styled semi-acoustic models: the six-string 3261, the twelve string 3262 and the 3263 bass. Shaftesbury was the house-brand of major UK distributor Rose-Morris, and seems to have been launched as a response to the company's loss of it's distribution deal with Rickenbacker. The guitars were mid-priced, and built in (initially) Japan, and later Italy, by Eko

1970 Rose-Morris 'Exciting Electrics Wonderful Westerns Celebrated Classics' catalog

1970 Rose_Morris catalog1970 Rose-Morris catalog, dated April 1970. It featured 6 electric guitars, 32 acoustic guitars, 3 basses and 1 steel guitar. It contains the following instruments, over 20 pages: Electric guitars: Shaftesbury 3261, 3262, 3264, 3265, 3400; Top Twenty 1970; Bass: Shaftesbury 3263, 3266; Top Twenty 1971; Acoustic guitars: Eko Rio Bravo, Rio Bravo 12, Ranchero, Ranchero 12, Colorado, Ranger, Ranger Folk, Ranger 12; Aria 1674, 1675, 1676, 1679, 1680, 1695, 'John Pearse' Jumbo, 'John Pearse' Folk; Rose-Morris 15-11, Kansas, Georgian, Florida; Suzuki 1663, 1664, 1665, 3054, 3055, 3060; Tatay 1713, 1714, 1715; Peerless 3052; Steel guitar: Aria 3425

1971 Rose-Morris 'Exciting Electrics Wonderful Westerns' catalog

1971 Rose_Morris catalogThe sixteen-page 1971 Rose-Morris catalog featured electric guitars by Rose-Morris' own brand, Shaftesbury, and budget brand Top Twenty; aswell as acoustics by Eko, Aria, and for the first time Ovation. The catalog contains the following instruments: Electric guitars: Shaftesbury 3261, 3264, 3265, 3400, 3402; Top Twenty 1970; Bass: Shaftesbury 3263, 3266; Top Twenty 1971; Acoustic guitars: Ovation: Balladeer, 12 String, Glen Campbell, Glen Campbell 12 string; Eko Rio Bravo, Rio Bravo 12, Ranger, Ranger Folk, Ranger 12, Colorado, Ranchero, Ranchero 12, Studio 'L'; Rose-Morris Florida; Aria 'John Pearse' Jumbo, 'John Pearse' Folk

1972 Fender Precision bass

1972 Fender PrecisionA detailed look at an early 1970s Fender Precision bass guitar in custom black finish, with rosewood fretboard. 1972 list price, $307.50. The Fender Precision had been shipping since at least very early 1952 - with just one re-design circa 1957. This example, then, shows a model already two decades old, but barely changed since the '57 revamp. Fender got it right first time around, and although there are numerous minor cosmetic differences, the essence of this bass is effectively the same as it was in '52: a simple, single pickup instrument with a GREAT sound. Check out the demo video through an old Ampeg B15. It's no wonder this is the bass that everybody wants!

1967 Vox Stroller

1967 Vox StrollerThe Vox Stroller was the brand's entry level electric solid body guitar, fitted with just one pickup and a fixed tailpiece. Although aimed at student guitarists, it wasn't a terrible instrument, but did lack somewhat in adjustability, having no accessible truss rod and only a floating rosewood bridge. But this example is actually quite an improvement on earlier versions, with a standard 1/4" jack and a solid mahogany body. 1967 price £18 2s. JMI ceased UK guitar production in late '67, and combined with decreasing demand for the Stroller, this surely must be one of the last examples shipped.

1963 Vox Clubman Bass (left handed)

1963 Vox Clubman Bass left handedA nice example of the Vox Clubman II bass, built by JMI in Dartford, Kent in 1963. This is a lightweight bass, short (30") scale and very easy to play. It is an early example, and as such has a thin black scratchplate and side mounted, coaxial output jack. JMI offered left handed examples of their solid body Vox guitars and basses at 10% premium. Production numbers are unclear, but left-handed examples rarely come up for sale

1977 Gibson ES Artist 'prototype'

1977 Gibson ES Artist prototypeNot to be confused with the Gibson ES Artist launched by Gibson in 1979; this ES Artist was an early model designed by the Gibson research and development team in Kalamazoo in 1977, the instruments themselves constructed by Gibson artist Chuck Burge. It was planned for launch as a high end semi acoustic with 335-style construction (central maple block) and innovative circuitry - but was pulled at the last minute, being deemed too expensive. Apparently, several examples were produced with varying specifications, though exactly how many actually left the Kalamazoo plant is unclear. Certainly two guitars were sold to LaVonne Music by Gibson in around 1980. Read more about the development of this guitar, with details from Chuck Burge and the story of it's sale to LaVonne music