Vintage Guitars
I'm happy with this
This website uses cookies to personalise content and adverts, to provide social media features, and to analyse traffic. When you buy through links on our site we may earn an affiliate commission. See terms and conditions
GIBSON | SOLID BODIES | L6-S | WIRING

Gibson L6-S technical information

schematics & parts lists

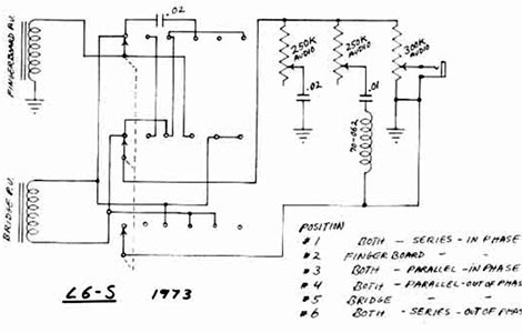
Part lists and schematics for the Gibson L6-S Custom and L6-S Deluxe. The L6-S Custom was designed by Bill Lawrence with 'Q-system' electronics (short for EQ), somewhat similar to those in the Gibson Ripper. The circuitry used an LCR networks with an inductor to filter midrange output, via the midrange control. See the L6-S controls for a reminder of the function of the three potentiometers.

Gibson L6-S Custom schematic

L6-S Custom schematic

L6-S Custom wiring

Control wiring image - taken from a 1976 Gibson L6-S Custom. Note that all three potentiometers are Gibson part 70029 - 300kΩ in contrast to the 250kΩ parts described in the 1973. Other Gibson pots were listed in Gibson literature throughout the course of production - summarised here.

Gibson L6-S Custom parts list

1977 Gibson part list for the L6-S Gibson L6-S pickup Gibson potentiometer part 70028 Gibson potentiometer part 70021

When only one variant of the L6-S existed, it was simply called the L6-S. However, this model became the L6-S Custom as other models were added to the line in the mid 1970s

Gibson regularly produced lists of constituent components for each of their guitars; this first list (left) was produced in the 1977 Gibson replacement parts catalogue, at a time that the 'Custom' was used in other Gibson literature (the January 1977 price list for example) - although note that it is not used here. The Deluxe is not listed in entirety in this catalogue, although it's pickup is.

The second list reproduced here (below) was included in the 1981 Gibson part list, towards the very end of the instruments production period. It lists all components, with associated part codes for a 1980 Gibson L6-S Custom guitar. Note some minor changes in part numbers, from the 1977 list above: specifically control assembly components, but the two lists are generally similar.

Components listed in blue can be clicked for further details.

L6-S Custom parts list Gibson L6-S pickup Gibson L6-S pickup Gibson potentiometer part 70041 Gibson potentiometer part 70029 Schaller M6 tuning keys

Gibson L6-S Deluxe parts list

L6-S Deluxe parts list
Got an opinion on the contents of this page? Disagree with something written above? Please comment

Gibson L6S for sale

Vintageguitarandbass.com is funded by its visitors. When you buy through links on our site we may earn an affiliate commission. For more info see terms and conditions.
Gibson 1974 Nickel L 6S Electronic Control Pots Harness

Gibson 1974 Nickel L 6S Electronic Control Pots Harness

Glassboro, New Jersey, 080**, UNITED STATES OF AMERICA

$40

Gibson Dependable
Home of the most First and most Dependable Gibson parts on Ebay
U S.A. and Worldwide Bidders Welcomed
How many of you guitar enthusiast out there have always wanted to build yourselves that awesome project guitar, but didn??t want to spend the money on a full guitar only to dismantle it. Well, here is your opportunity do so. We sell high end name brand parts and project guitars specifically for the purpose of building your own custom one off guitar
Description: ... more
eBay logo
Gibson 1974 Chrome L 6S Humbucker Bridge Pickup

Gibson 1974 Chrome L 6S Humbucker Bridge Pickup

Glassboro, New Jersey, 080**, UNITED STATES OF AMERICA

$100

Gibson DependableHome of the most First and most Dependable Gibson parts on Ebay
U S.A. and Worldwide Bidders Welcomed
How many of you guitar enthusiast out there have always wanted to build yourselves that awesome project guitar, but didn??t want to spend the money on a full guitar only to dismantle it. Well, here is your opportunity do so. We sell high end name brand parts and project guitars specifically for the purpose of building your own custom one off guitar
Description: Gibson ... more
eBay logo
Gibson 1974 Chrome L 6S Humbucker Neck Pickup

Gibson 1974 Chrome L 6S Humbucker Neck Pickup

Glassboro, New Jersey, 080**, UNITED STATES OF AMERICA

$100

Gibson DependableHome of the most First and most Dependable Gibson parts on Ebay
U S.A. and Worldwide Bidders Welcomed
How many of you guitar enthusiast out there have always wanted to build yourselves that awesome project guitar, but didn??t want to spend the money on a full guitar only to dismantle it. Well, here is your opportunity do so. We sell high end name brand parts and project guitars specifically for the purpose of building your own custom one off guitar
Description: Gibson ... more
eBay logo
Gibson 1974 Natural L 6S Body & Maple Neck

Gibson 1974 Natural L 6S Body & Maple Neck

Glassboro, New Jersey, 080**, UNITED STATES OF AMERICA

$580

Gibson Dependable
Home of the most First and most Dependable Gibson parts on Ebay
U S.A. and Worldwide Bidders Welcomed
How many of you guitar enthusiast out there have always wanted to build yourselves that awesome project guitar, but didn??t want to spend the money on a full guitar only to dismantle it. Well, here is your opportunity do so. We sell high end name brand parts and project guitars specifically for the purpose of building your own custom one off guitar
Description: ... more
eBay logo
Vintage 70s Gibson L6-S CUSTOM Guitar NECK PICKUP 6 06 ohms Chrome Cover

Vintage 70's Gibson L6-S CUSTOM Guitar NECK PICKUP 6 06 ohms Chrome Cover

Miami, Florida, 331**, UNITED STATES OF AMERICA

$300

This came from the neck position of a 1976 Gibson L6-S Custom. Reads 6 06 ohms on my meter with full length wire. I can't guarantee that it will read the same on yours, but I do guarantee that it works as it should. It's clean, but there's some wear on the chrome cover. Original springs and screws included.
7 % sales tax will be added to all items shipped inside the state of Florida. I will ship most of my items to many countries other than USA, but I ask that all buyers contact me before ... more
eBay logo
1977 GIBSON L6-S DELUXE guitar Wiring Harness pots jack and switch

1977 GIBSON L6-S DELUXE guitar Wiring Harness pots jack and switch

Miami, Florida, 331**, UNITED STATES OF AMERICA

$150

The one legible pot dates to 1977. This is for the Deluxe (not Custom) model. Tested and working. It's original and complete
Sales tax will be added by ebay. I will ship most of my items to many countries other than USA, but I ask that all buyers contact me before making a purchase. Foreign buyers are responsible for all of their taxes and customs duties. I will NOT declare lower values or declare items as gifts under any circumstance.
... more
eBay logo
Vintage! 1974 Gibson L6-S Natural Acoustic /  Electric Guitar + OHSC

Vintage! 1974 Gibson L6-S Natural Acoustic / Electric Guitar + OHSC

Thousand Oaks, California, 913**, UNITED STATES OF AMERICA

$1995



Vintage! 1974 Gibson L6-S Natural Acoustic / Electric Guitar + OHSC

Google us! Lovies Guitar Shop
Lovies Guitars is excited to offer up this 1974 Gibson L6-S Natural Electric Guitar! The all maple Gibson L6-S took its inspiration from the L series of hollow-bodies of Gibson's past. The idea was to offer a versatile yet affordable solid-body, which Gibson accomplished by including a six-way rotary pickup selector that gave both phase and series output settings for the pickups.... more
eBay logo
Gibson Vintage 1970s L6-S Bill Lawrence Pickup 1973 1974 1975 1976 1977 1978 79

Gibson Vintage 1970's L6-S Bill Lawrence Pickup 1973 1974 1975 1976 1977 1978 79

Petaluma, California, 949**, UNITED STATES OF AMERICA

$235

** Vintage Gibson Bill Lawrence L6-S Pickup 1970's *
Very Good Condition 6 00K Ohms11 Inch LeadsSee PhotosShipping Lower 48 $19 00We ship Worldwide022525 1... more
eBay logo
Gibson Vintage 1970s Patent Number M-8 Pickup Ring Screws Les Paul SG L6-S 1970

Gibson Vintage 1970's Patent Number M-8 Pickup Ring Screws Les Paul SG L6-S 1970

Alcoa, Tennessee, 377**, UNITED STATES OF AMERICA

$34

** Vintage 1970's Gibson M-8 Pickup Ring Screws **
Very Good ConditionSee PhotosShipping Lower 48 $9 00We Ship Worldwide121125 1
... more
eBay logo
Vintage 1970s to early 1980s Gibson L6-S Custom Guitar 5-Ply Pickguard

Vintage 1970s to early 1980's Gibson L6-S Custom Guitar 5-Ply Pickguard

Miami, Florida, 331**, UNITED STATES OF AMERICA

$140

Comes with original screws. Normal Vintage wear and pick scratches, but no chips, cracks, or warping.
Sales tax will be added by Ebay. I will ship most of my items to many countries other than USA, but I ask that all buyers contact me before making a purchase. Foreign buyers are responsible for all of their taxes and customs duties. I will NOT declare lower values or declare items as gifts under any circumstance.... more
eBay logo
1970s CLEAN Gibson Bridge + STUDS L6-S Marauder SG ES-325 others Chrome Plate

1970's CLEAN Gibson Bridge + STUDS L6-S Marauder SG ES-325 others Chrome Plate

Miami, Florida, 331**, UNITED STATES OF AMERICA

$250

This one is very clean for the age. Only very minor pitting. Original vintage 70's Gibson Flat Bridge AKA "Harmonica" guitar bridge in vintage condition. Correct for many Gibson models. Original studs included
Sales tax will be added by ebay. Foreign buyers are responsible for all of their taxes and customs duties. I will NOT declare lower values or declare items as gifts under any circumstance.
... more
eBay logo
Vintage 70s Gibson L6-S CUSTOM Guitar BRIDGE PICKUP 6 09 ohms Chrome Cover

Vintage 70's Gibson L6-S CUSTOM Guitar BRIDGE PICKUP 6 09 ohms Chrome Cover

Miami, Florida, 331**, UNITED STATES OF AMERICA

$300

This came from the bridge position of a 1976 Gibson L6-S Custom. Reads 6 09 ohms on my meter with full length wire. I can't guarantee that it will read the same on yours, but I do guarantee that it works as it should. It's clean, but there's some wear on the chrome cover. Original springs and screws included.
7 % sales tax will be added to all items shipped inside the state of Florida. I will ship most of my items to many countries other than USA, but I ask that all buyers contact me before ... more
eBay logo
Vintage 1975 Gibson L6-S Deluxe Electric Guitar w /  Original Case

Vintage 1975 Gibson L6-S Deluxe Electric Guitar w / Original Case

Dayton, Ohio, 454**, UNITED STATES OF AMERICA

$1499

The Vintage 1975 Gibson L6-S Deluxe Electric Guitar is a classic piece from the Gibson brand, featuring a solid body design and a 6-string configuration. This right-handed electric guitar was made in the United States and comes with its original case, adding to its authenticity and value as a collector's item for guitar enthusiasts. With its vintage appeal and high-quality craftsmanship, this Gibson model is sure to provide a rich and timeless sound for any musician looking to add a piece of ... more
eBay logo
One 70s GIBSON Bass TUNER Bent Les Paul Flying V Marauder S-1 some L6-S ES335

One 70's GIBSON Bass TUNER Bent Les Paul Flying V Marauder S-1 some L6-S ES335

Miami, Florida, 331**, UNITED STATES OF AMERICA

$35

Late 70's to early 80's. Button shaft is bent. Nickel plated and in good shape. As used on many vintage Gibson guitars in 80's and 70's.
Sales tax will be added by ebay. I will ship most of my items to many countries other than USA, but I ask that all buyers contact me before making a purchase. Foreign buyers are responsible for all of their taxes and customs duties. I will NOT declare lower values or declare items as gifts under any circumstance.
... more
eBay logo
Gibson Vintage 1976 L6-S Back Plate 1972 1973 1974 1975 1977 1978 1979 1980

Gibson Vintage 1976 L6-S Back Plate 1972 1973 1974 1975 1977 1978 1979 1980

Petaluma, California, 949**, UNITED STATES OF AMERICA

$65

** Vintage 1970's Gibson L6-S Back Plate **
Very Good ConditionSee PhotosDomestic shipping $9 00We Ship Worldwide 022525... more
eBay logo
Gibson Vintage 1973 L6-S Bill Lawrence Pickup L6S 1972 1974 1975 1970s

Gibson Vintage 1973 L6-S Bill Lawrence Pickup L6S 1972 1974 1975 1970's

Petaluma, California, 949**, UNITED STATES OF AMERICA

$235

** Vintage Gibson Bill Lawrence L6-S Pickup 1970's *
Very Good Condition 6 00K Ohms5 1 / 2 Inch LeadsSee PhotosShipping Lower 48 $17 00We ship Worldwide063025 1... more
eBay logo
1970s GIBSON Floral TUNERS for Les Paul Flying V Marauder S-1 some L6-S ES335

1970's GIBSON Floral TUNERS for Les Paul Flying V Marauder S-1 some L6-S ES335

Miami, Florida, 331**, UNITED STATES OF AMERICA

$250

Late 70's to early 80's. Nickel plated and in good shape. As used on many vintage Gibson guitars in 80's and 70's. One shaft is slightly bent. I do not have the screws or bushings
Sales tax will be added by ebay. I will ship most of my items to many countries other than USA, but I ask that all buyers contact me before making a purchase. Foreign buyers are responsible for all of their taxes and customs duties. I will NOT declare lower values or declare items as gifts under any circumstance. ... more
eBay logo
1976 Gibson L6-S Deluxe Vintage Electric Guitar Wine Red, 100% Original w /  Case

1976 Gibson L6-S Deluxe Vintage Electric Guitar Wine Red, 100% Original w / Case

Seattle, Washington, 981**, UNITED STATES OF AMERICA

$1900

Up for sale, a 1976 Gibson L6-S Deluxe in 100% original condition and in perfect working order, complete with the original hardshell case. The L6-S models are often credited as some of the most underrated solidbody guitars in Gibson??s history, and were the very first collaboration between Gibson and Bill Lawrence, who designed the ??tarback?? ceramic magnet Superhumbucker pickups used in these models. The body closely resembles a wider, thinner Les Paul, with a more generous Florentine cutaway,... more
eBay logo
Share Gibson 1980 Nickel L 6S Electronic Control Pots Harness

Share Gibson 1980 Nickel L 6S Electronic Control Pots Harness

Swedesboro, New Jersey, 080**, UNITED STATES OF AMERICA

$140

Gibson Dependable
Home of the most First and most Dependable Gibson parts on Ebay
U S.A. and Worldwide Bidders Welcomed
How many of you guitar enthusiast out there have always wanted to build yourselves that awesome project guitar, but didn??t want to spend the money on a full guitar only to dismantle it. Well, here is your opportunity do so. We sell high end name brand parts and project guitars specifically for the purpose of building your own custom one off guitar
Description: ... more
eBay logo
Gibson USA ? 76 L6-S Electric Guitar with Original Case

Gibson USA ? '76 L6-S Electric Guitar with Original Case

Auburn, Washington, 980**, UNITED STATES OF AMERICA

$1999

This is a 1976 (bicentennial) Gibson L6-s Custom. Solid maple body, and rare 6 position selector switch. When I got this guitar, the bridge pickup had been replaced, but I have purchased the original and swapped it back. Both the neck and bridge pickups are now original. They both sound great . The neck is well worn, lacquered maple and looks really cool. This is not a fake or manufactured look. It came from good honest play! This guitar has stainless steel frets, and they are in really good ... more
eBay logo

Find more Gibson L6S for sale at vintageguitarsforsale.co

There are 0 comments on this page so far. Add your comment

Comment on this article

Anti-spam question - to catch web robots

Contact
info@vintageguitarandbass.com

mailing list

Follow

Facebook  Instagram  YouTube

Other Great Sites

Recent posts on vintage guitar and bass

1973 Hagstrom Swede Bass

1973 Hagstrom Swede Bass The Hagstrom Swede bass, or model HB 903, was only built in small numbers: just 1479 basses shipped between 1971 and 1976. Unlike the current range of Hagstrom guitars, the 1950s-1980s Hagstroms were built in Sweden. This example comes from 1973 and is pretty typical: translucent cherry finish, mahogany body, mahogany neck with an ebony fretboard. It's a really nice bass, beautifully appointed with a very wide tonal range, and a great playing feel. It is relatively heavy though for a mahogany instrument, mostly due to its thick solid body. Very cool bass, and certainly one of the very best basses produced by Hagstrom.

1973 Shaftesbury 3400

1973 Shaftesbury 3400 This example of the Shaftesbury 3400 was produced by Japanese manufacturer Matsumoku who made some great quality guitars in the 1970s and 1980s. This is a slightly later example, and has some features not seen on earlier 3400s. Although nice guitars, these are not in the same league as the Gibson Les Paul it was emulating (no set neck, no carved maple top); but they are far better than many of the entry-level Les Paul copies available in the mid-1970s - for example the Shaftesbury 3400 has gold plated hardware, a solid body bound front and back, Maxon brand humbuckers and nice inlaid neck and headstock.

1971 Epiphone 1802T

1971 Epiphone 1802T The Epiphone 1802T was the early name given to the Epiphone ET-270 and derived from an existing Aria guitar, also the 1802T. This was the first of the 1970s Epiphone solid bodies made in Japan by Matsumoku.The model evolved somewhat over its short production run: the very earliest examples were very similar to the Aria, sharing the same body shape, hardware, and clear-coated neck with Fender-style headstock with decal logo. By the time it was designated the Epiphone ET-270 it had been upgraded with the classic Epiphone-style headstock, with nice inlaid logo, and Epiphone 'E' motifs on the truss rod cover and scratchplate. This example from 1971 is somewhere in between with the Epiphone-style headstock, but with silk-screened logo, and no 'E's.

1971 Shaftesbury 3400

1971 Shaftesbury 3400Shaftesbury was a brand distributed by Rose-Morris in the UK - generally imported guitars from Italy or Japan. This guitar, model 3400 was produced by Matsumoku in Japan, and was one of the earliest Les Paul copy guitars, debuting in the UK in 1969, although the same guitar was also sold as the Univox U1982 'Rhythm and Blues' by Merson in the USA as early as 1968. It was also available in different territories under different marques, most obviously the Aria 5522 (Japan), Jedson Jet 4444 (UK, Dallas Arbiter), with no doubt many more examples worldwide.

1981 Gibson Victory MVX

1981 Gibson Victory MV-XThe Gibson Victory MV-X, or Victory 'Multi-Voice' 10, was so-named because of the 10 distinct switch settings: although on first glance this guitar is very much a 'super-strat', with its three-pickup 5-way switch wiring configuration, the original advertising, sounds like... all of 'em underlines that this isn't just a Stratocaster copy, having the sounds of both Gibson humbuckers and Fender single coils available with a flick of a switch. The model was short-lived, with the first instruments shipping from Kalamazoo in Summer of 1981, and the last (excluding any stragglers) leaving Nashville by early 1982. This one was stamped on August 3rd 1981 in Kalamazoo.

1970 Rosetti Epiphone guitar catalogue

1970 Rosetti Epiphone guitar catalogScan of 1970 Epiphone guitar catalogue produced by Rosetti for the UK market. Undated but most likely from mid-late 1970, this was the first UK catalogue to show the new range of Japanese (Matsumoku) Epiphone guitars. Interestingly, these pages show the Epiphone solid bodies with a single-sided Fender-style headstock layout - a feature quickly replaced with a typical two-sided Epiphone headstock almost immediately. Epiphone electric guitars: 9520, 9525; bass guitars: 9521, 9526; acoustic guitars: 6730, 6830, 6834

A World of Guitars by Rosetti - 1971

1971 A World of Guitars by Rosetti catalogueScan of 1971 Rosetti catalogue (UK) featuring guitars from from numerous manufacturers worldwide: guitars by Epiphone, Hagstrom, Levin, Hoyer, Egmond, Eros, Moridaira, Kiso-Suzuki, Schaller, and Tatra.

1971 Selmer guitar catalogue

1971 Selmer guitar catalogueScan of 1971 Selmer guitar catalogue showing the range of electric and acoustic guitars distributed by the company: guitars by Gibson, Yamaha, Selmer, Hofner and Suzuki. 1960s Selmer had always placed Hofner at the front end of their catalogues, no doubt these were the better sellers - but into the 1970s Hofner were slipping somewhat and only appear at the tail end of this publication, pride of place going to Gibson, and to a lesser extent Yamaha. In fact this is the last Selmer catalogue to include the many Hofner hollow bodies (Committee, President, Senator etc) that had defined the companies output for so many years - to be replaced in the 1972 catalogue by generic solid body 'copies' of Gibson and Fender models. A number of new Gibson models are included for the first time: the SG-100 and SG-200 six string guitars and the SB-300 and SB-400 basses.

1968 Selmer guitar catalogue

1968 Selmer guitar catalogueScan of 1968/1969 Selmer guitar catalogue (printed July 1968), showing the entire range of electric and acoustic guitars distributed by the company: guitars by Hofner, Gibson, Selmer and Giannini. Selmer were the exclusive United Kingdom distributors of Hofner and Gibson at the time, and this catalogue contains a total of 18 electric guitars, 7 bass guitars, 37 acoustics, and 2 Hawaiian guitars - all produced outside the UK and imported by Selmer, with UK prices included in guineas. This catalogue saw the (re-)introduction of the late sixties Gibson Les Paul Custom and Les Paul Standard (see page 69) and the short-lived Hofner Club 70. Other electric models include: HOFNER ELECTRICS: Committee, Verithin 66, Ambassador, President, Senator, Galaxie, HOFNER BASSES: Violin bass, Verithin bass, Senator bass, Professional bass GIBSON ELECTRICS: Barney Kessel, ES-330TD, ES-335TD, ES-345TD, ES-175D, ES-125CD, SG Standard, SG Junior, SG Special GIBSON BASSES: EB-0, EB-2, EB-3 - plus a LOT of acoustics branded Gibson, Hofner, Selmer and Giannini

1961 Hofner Colorama I

1961 Hofner Colorama IHofner Colorama was the name UK distributor Selmer gave to a series of solid and semi-solid guitars built by Hofner for distribution in the UK. The construction and specifications of the guitars varied over the period of production, but by 1961 it was a totally solid, double cutaway instrument, with a set neck, translucent cherry finish, six-in-a-row headstock, and Hofner Diamond logo pickups. Available as a single or dual pickup guitar, this sngle pickup version would have been sold in mainland Europe as the Hofner 161.

1971 Commodore N25 (Matsumoku)

1971 Commodore N25 (Matsumoku)Commodore was a brand applied to a series of guitars produced in Japan at the well-respected Matsumoku plant from the late 1960s to the mid 1970s - and sold primarily (perhaps exclusively?) in the United Kingdom. The models bearing the Commodore name were all guitars available from different distributors with different branding. Although there may have been some minor changes in appointments (specifically headstock branding) most had the same basic bodies, hardware and construction. Equivalent models to the Commodore N25 (and this is by no means an exhaustive list) include the Aria 5102T, Conrad 5102T(?), Electra 2221, Lyle 5102T, Ventura V-1001, Univox Coily - and most famously the Epiphone 5102T / Epiphone EA-250.

1960 Hofner Colorama II

1960 Hofner Colorama IIThe Hofner Colorama was the name given by Selmer to a series of solid (and semi-solid) body Hofner guitars distributed in the United Kingdom between 1958 and 1965. The Colorama name actually applied to some quite different guitars over the period, but in 1960 it was a very light, semi-solid, set necked guitar with one (Colorama I) or two (Colorama II, as seen here) Toaster pickups. Although an entry-level guitar, it was very well-built, and a fine playing guitar; certainly a step up (at least in terms of craftsmanship) from many of the Colorama guitars that would follow, and a good deal of the guitars available in Britain circa 1960.

1971 Epiphone 1820 bass (ET-280)

1971 Epiphone 1820 (ET-280) bassBy the end of the 1960s, a decision had been made to move Epiphone guitar production from the USA (at the Kalamazoo plant where Gibson guitars were made), to Matsumoto in Japan, creating a line of guitars and basses significantly less expensive than the USA-built models (actually less than half the price). The Matsumoku factory had been producing guitars for export for some time, but the 1820 bass (alongside a number of guitar models and the 5120 electric acoustic bass) were the first Epiphone models to be made there. These new Epiphones were based on existing Matsumoku guitars, sharing body shapes, and hardware, but the Epiphone line was somewhat upgraded, with inlaid logos and a 2x2 peghead configuration. Over the course of the 70s, the Japanese output improved dramatically, and in many ways these early 70s models are a low point for the brand. Having said this, there are a lot worse guitars out there, and as well as being historically important, the 1820 bass can certainly provide the goods when required.

1981 Gibson Marauder

1981 Gibson MarauderProduction of Bill Lawrence's Gibson Marauder began in 1974, with production peaking in 1978. But by 1980 the model was officially discontinued, though very small numbers slipped out as late as spring 1981. Over 7000 examples shipped between 1974 and 1979, and although no totals are available for 1980 and 1981, it is unlikely production reached three figures in either of these years. These final Marauders were all assembled at the Gibson Nashville plant, and had some nice features not available through the later years of production, such as a rosewood fretboard, and in this case, an opaque 'Devil Red' finish. It's a great looking and fine playing guitar!

1971 'Pick Epiphone' Catalog

1971 Pick Epiphone catalogWhen Epiphone production moved from Kalamazoo to the Matsumoku plant in Japan, a whole new range of electric, flattop and classic acoustic guitars was launched. Between late 1970 and 1972 the new models were launched and refined. This 'folder' catalog contains various inserts released over these years detailing four electric six-strings (ET-270, ET-275, ET-278, and thinline EA-250), three bass guitars (ET-280, ET-285, and thinline EA-260), three folk/steel acoustics, four jumbo flattop acoustics, two 12-string jumbos, four classic acoustics, and a banjo.

1981 'Gibson Specials' Pre-Owners Manual

1981 Gibson Specials Pre-Owners Manual'Gibson Specials' was part of the June 1981 pre-owners manual series, but unlike the other folders contained a mish-mash of different guitars: limited editions, test marketing and close outs. "You will find the unusual, the brand-new, and the bargain within this folder". End of line 70s guitars like the Marauder, S-1, and L-6S Custom mixed in with brand new models the The V, The Explorer and the Flying V Bass.
It was the largest folder in the series, with 24 inserts, (19 guitars and 5 basses): Guitars: 335-S Standard, Melody Maker Double, Marauder, L-6S Custom, S-1, RD Artist, Firebird, Firebird II, Flying V, Flying V-II, The V, Explorer, Explorer II, The Explorer, The "SG" Standard, Les Paul Artist, Les Paul Artisan, ES-335 Heritage, ES-175/CC Basses: Grabber, G-3, L-9S, RD Artist Bass, Flying V Bass

1970s Shaftesbury 3263 bass

1970s Shaftesbury 3263 bass Rose-Morris were selling Shaftesbury-branded Rickenbacker copy instruments from the late 1960s right through the 1970s. The 3263 bass was one of the first models, (alongside the 3261 six string and 3262 twelve string) available from late 1968 until about 1974. The earliest incarnation was a set neck bass, produced very briefly in Japan. But production quickly moved to Italy. This bolt-on neck example was built by Eko, in Recanati, using the same hardware and pickups as fitted to Eko, and Vox basses built around the same time. It's certainly a fine looking bass, and not a bad player either.

1961 Hohner Zambesi

1961 Hohner Zambesi This very early, and pretty rare British-built guitar is branded Hohner London. Hohner were, of course, a German company, better known for their harmonicas and accordions, but they were keenly expanding into guitars at the birth of the 1960s. This model, along with the Hohner Amazon and (particularly) the Hohner Holborn, bear some similarity with Vox guitars of the same period; furniture manufacturer Stuart Darkins constructed bodies and necks for both brands, with Fenton Weill assembling them using their hardware and pickups. These guitars do have some hardware peculiarities, and they are not the most adjustable of instruments, but they actually play very nicely, being solidly built out of some very nice woods. Check out the video on this page.

1963 Vox Super Ace

1963 Vox Super Ace The Vox Super Ace was a mid-priced British solid body electric guitar, produced by JMI at their factory in Dartford, Kent. It was broadly modelled on the Fender Stratocaster, and a sibling model to the dual-pickup Vox Ace. Both the Ace, and Super Ace (along with several other models), were redesigned in 1963 with a new body shape, headstock style, and pickup layout - only increasing the resemblance to the aforementioned Fender. The Super Ace had a 1963 price tag of £47 5S. It's a pretty nice playing guitar with some lovely sounds - check out the videos on this page, and in the Vintage Guitar and Bass supporting members area

1966 Vox New Escort

1966 Vox New Escort The Vox New Escort was Vox's version of the Fender Telecaster, at a time when American guitars were out of reach for most British musicians. It was made by JMI in England, for the British market, and unlike the majority of other models, didn't have an Italian-made equivalent. But the New Escort wasn't a slavish Fender copy, adding Vox's stylish teardrop headstock to the tele-style body, with a stop tailpiece and two Vox V2 single coil pickups. And it's a pretty substantial, and nice playing guitar, with a very comfortable neck. Check out the images, specifications, and watch a video of it in action. There is also extra content in the vintageguitarandbass supporting members area.

1969 Fender catalog, Fender Lovin' Care

1969 Fender catalog, Fender Lovin Care Catalog scan. The 1969 Fender Lovin' Care catalog consisted of 48 pages of electric guitars, basses, amplifiers, steel guitars, acoustic guitars, banjos and keyboards. Like the previous catalog, this featured the company's guitars in a variety of interesting settings around California, from the Whiskey-A-Go-Go, to the Hollywood Bowl. Several instruments were making their first appearance amongst it's pages: the Telecaster bass, Montego and LTD jazz guitars, and the Redondo acoustic. It was the final catalog appearance, however, of the Electric XII, Bass V, Duo-Sonic, Coronado I and Coronado Bass I.

1973 Eko Ranger Folk

1973 Eko Ranger Folk The Eko Ranger series of guitars was incredibly popular in the second half of the 1960s and through the 1970s, selling in very large numbers. The Ranger Folk was 1 1/4" smaller, and 1" shallower than the Ranger VI and XII - and with a narrower waist. Not a bad guitar; a little quiet, but pretty playable. These were great value in 1973, and because they sold so many, they are easy to find and excellent value today.

1966 Vox Symphonic bass guitar

1966 Vox Symphonic bass guitar The Symphonic bass was built in the UK, by Vox parent company JMI. It was the Vox equivalent to the Fender Precision bass, and was one of the most expensive Vox guitars produced. It was actually a great playing bass, rather similar to the Precision in feel and sound, but was probably just too expensive compared to an actual Fender and consequently sold poorly. When Vox hit financial problems in 1968, unsold guitars and basses were passed on to Dallas Arbiter, who briefly sold the excess Symphonic bass stock as model 4537. This bass, although with a neck date of February 1966, was most likely one of the unsold Vox guitars sold on by Dallas Arbiter. Check out the bass, and the two video demos through 1960s Ampeg and WEM amplifiers.

1968 Shaftesbury 'Electric Guitars' catalog

1968 Shaftesbury catalogThe 1968 Shaftesbury 'Electric Guitars' catalog was just four pages long, and contained four guitar models: the six string Barney Kessel-style 3264; and three Rickenbacker-styled semi-acoustic models: the six-string 3261, the twelve string 3262 and the 3263 bass. Shaftesbury was the house-brand of major UK distributor Rose-Morris, and seems to have been launched as a response to the company's loss of it's distribution deal with Rickenbacker. The guitars were mid-priced, and built in (initially) Japan, and later Italy, by Eko

1970 Rose-Morris 'Exciting Electrics Wonderful Westerns Celebrated Classics' catalog

1970 Rose_Morris catalog1970 Rose-Morris catalog, dated April 1970. It featured 6 electric guitars, 32 acoustic guitars, 3 basses and 1 steel guitar. It contains the following instruments, over 20 pages: Electric guitars: Shaftesbury 3261, 3262, 3264, 3265, 3400; Top Twenty 1970; Bass: Shaftesbury 3263, 3266; Top Twenty 1971; Acoustic guitars: Eko Rio Bravo, Rio Bravo 12, Ranchero, Ranchero 12, Colorado, Ranger, Ranger Folk, Ranger 12; Aria 1674, 1675, 1676, 1679, 1680, 1695, 'John Pearse' Jumbo, 'John Pearse' Folk; Rose-Morris 15-11, Kansas, Georgian, Florida; Suzuki 1663, 1664, 1665, 3054, 3055, 3060; Tatay 1713, 1714, 1715; Peerless 3052; Steel guitar: Aria 3425

1971 Rose-Morris 'Exciting Electrics Wonderful Westerns' catalog

1971 Rose_Morris catalogThe sixteen-page 1971 Rose-Morris catalog featured electric guitars by Rose-Morris' own brand, Shaftesbury, and budget brand Top Twenty; aswell as acoustics by Eko, Aria, and for the first time Ovation. The catalog contains the following instruments: Electric guitars: Shaftesbury 3261, 3264, 3265, 3400, 3402; Top Twenty 1970; Bass: Shaftesbury 3263, 3266; Top Twenty 1971; Acoustic guitars: Ovation: Balladeer, 12 String, Glen Campbell, Glen Campbell 12 string; Eko Rio Bravo, Rio Bravo 12, Ranger, Ranger Folk, Ranger 12, Colorado, Ranchero, Ranchero 12, Studio 'L'; Rose-Morris Florida; Aria 'John Pearse' Jumbo, 'John Pearse' Folk

1972 Fender Precision bass

1972 Fender PrecisionA detailed look at an early 1970s Fender Precision bass guitar in custom black finish, with rosewood fretboard. 1972 list price, $307.50. The Fender Precision had been shipping since at least very early 1952 - with just one re-design circa 1957. This example, then, shows a model already two decades old, but barely changed since the '57 revamp. Fender got it right first time around, and although there are numerous minor cosmetic differences, the essence of this bass is effectively the same as it was in '52: a simple, single pickup instrument with a GREAT sound. Check out the demo video through an old Ampeg B15. It's no wonder this is the bass that everybody wants!

1967 Vox Stroller

1967 Vox StrollerThe Vox Stroller was the brand's entry level electric solid body guitar, fitted with just one pickup and a fixed tailpiece. Although aimed at student guitarists, it wasn't a terrible instrument, but did lack somewhat in adjustability, having no accessible truss rod and only a floating rosewood bridge. But this example is actually quite an improvement on earlier versions, with a standard 1/4" jack and a solid mahogany body. 1967 price £18 2s. JMI ceased UK guitar production in late '67, and combined with decreasing demand for the Stroller, this surely must be one of the last examples shipped.

1963 Vox Clubman Bass (left handed)

1963 Vox Clubman Bass left handedA nice example of the Vox Clubman II bass, built by JMI in Dartford, Kent in 1963. This is a lightweight bass, short (30") scale and very easy to play. It is an early example, and as such has a thin black scratchplate and side mounted, coaxial output jack. JMI offered left handed examples of their solid body Vox guitars and basses at 10% premium. Production numbers are unclear, but left-handed examples rarely come up for sale

1977 Gibson ES Artist 'prototype'

1977 Gibson ES Artist prototypeNot to be confused with the Gibson ES Artist launched by Gibson in 1979; this ES Artist was an early model designed by the Gibson research and development team in Kalamazoo in 1977, the instruments themselves constructed by Gibson artist Chuck Burge. It was planned for launch as a high end semi acoustic with 335-style construction (central maple block) and innovative circuitry - but was pulled at the last minute, being deemed too expensive. Apparently, several examples were produced with varying specifications, though exactly how many actually left the Kalamazoo plant is unclear. Certainly two guitars were sold to LaVonne Music by Gibson in around 1980. Read more about the development of this guitar, with details from Chuck Burge and the story of it's sale to LaVonne music